王国林 王汉军
(浙江正康实业股份有限公司 325025)
摘要:我国是不锈钢管道需求的大国,未来市场巨大,需求旺盛。据2013年数据统计,全国建筑给排水管道约3200亿元左右,供水管道约1600亿左右。而目前薄壁不锈钢供水管道市场仅有30多个亿,不锈钢管道市场普及率还很低,在美国、德国和日本不锈钢供水管道的普及率均在80%以上。
未来中国不锈钢管道市场将会有一个快速发展,如何应对发展?本文通过不锈钢材料、成型工艺、壁厚变化及固溶(热处理)等工艺对影响不锈钢管件性能与使用寿命因素分析,以便企业更好的借鉴,生产高品质的管件;让使用者更多的了解和选择质量好、性能优的产品,加快推进不锈钢管道系统在多领域的应用。
关键词:不锈钢管件 性能与寿命 因素分析
一、影响不锈钢管件性能及寿命的因素
不锈钢水管具有较长的使用寿命。从国外的不锈钢管道使用情况看,不锈钢水管的使用寿命可达100年,至少也有70年,与建筑物同寿命。不锈钢管材管件最突出的优势是耐腐蚀性能,如果不锈钢管道在使用过程中,能正确的使用和保养,可以有效的延长使用寿命。
(一)材质对管件使用寿命的影响
不锈钢材质,304与304L的主要区别在于:304的含C(碳)量≤0.08%,而304L的含C量≤0.03%; 316材质相对304L的含NI(镍)比304高1%—2%,主要是降低了Cr(铬)含量,增加了Mo(钼)2%—3%,从而各自抗腐蚀性能力和抗腐蚀的环境有所不同。
L代表低碳,如304L比304含碳量低,H与S代表耐高温,如310S比310耐高温性能强,304H比304耐热,316、316L是船用材料,具有强耐腐蚀性。
304不锈钢材质有两种:一级材质和二级材质。而二级材质也就是钢厂的次等品,主要区别在于:二级材料表面、含镍量、厚薄不均匀等,比一级材料便宜。钢厂稍加处理后进入市场,但质量不稳定。
(二)成型工艺对管件性能及寿命的影响
“管件成型”是管件生产工艺中最重要的步骤,管材在加工过程中随着应力的不断增加,在力的作用下精度容易发生变化。
现在大部分管件生产企业在成型工艺中主要采取了“冷挤压”和“胀形”工艺。生产工艺的不同,管件的尺寸、壁厚和功能会存在差异,所以,采用什么样的成型工艺,既保持质量的稳定,又提高生产效率,是非常重要问题,下面介绍两种工艺的特点。
1、“冷挤压”工艺:把下料后的不锈钢毛坯管放入模腔中,通过压力机上固定的凸模向毛坯施加压力,使不锈钢毛坯管产生变形,而制得管件的尺寸要求。主要特点:
(1)表面光洁。挤压件一般尺寸精度可达8~9级,若采用润滑仅次于抛光表面。用挤压方法制造的零件表面,一般不需要再加工。
(2)冷挤压工艺配置辅助手段,可达到产品质量要求。如管件“U型槽”和“三通拉口”成型,在挤压过程中通过补料方式,以达到“U型槽” 和“三通拉口”壁厚不减薄,确保产品的质量。
(3)冷挤压会使管件拉应力的产生。冷挤压工艺具有冷变形的特性,在挤压过程中金属毛坯处于三向压力状态,变形后金属组织有改性现象。
2、“胀形”工艺:胀形工艺是在管坯内部通以高压液体﹑气体或固体软模﹐迫使管材塑性变化﹐以达到工件的外形尺寸要求。主要特点:
(1)胀形时,材料的变形局限于固定的模具内,质量稳定。工件不会产生起皱现象,成形的工件表面光滑、回弹小。
(2)胀形时,材料处于双向受拉的应力状态,在模具的作用下,迫使管材壁厚减薄、表面积增大,获得要求的几何形状。
(3)胀形时,管材变形区局限于变形区范围内,管材不向变形区外转移。如管件U形槽的形成是靠管材的局部变薄来实现的。
(三)壁厚对管件连接及寿命的影响
薄壁不锈钢水管的壁厚是管道连接强度的关键。壁厚减少到安全系数以下,可靠性必然下降几个等级。实际上管道的壁厚是保证管道连接的强度,同时,壁厚还具有在各种环境下抗振的功能、管道耐外力冲撞的性能、及隐蔽工程中的使用寿命和抗腐蚀等能力。这里着重介绍不锈钢管件的壁厚对连接与使用寿命的关系。
1、生产过程中壁厚变化对质量影响
管件在生产过程中要经过下料、弯管、成型(冷挤压、胀型)等多道工序。首先影响壁厚的主要是弯管、成型等工序。采用的成型工艺不同,对管件的壁厚会产生较大影响。
(1)弯管对管件壁厚的影响。管材弯曲成型中,管材弯曲的形状变化是材料位移,是塑性变形的表面现象,其变形实质在于管壁外则伸长减薄、管材内则缩短增厚。管壁厚度的减薄量是随材料硬化指数增大而增加。
所以在管材弯曲设计和选用材料壁厚时,应考虑到管材的伸长性能以及弯管外侧变薄的重要因素,采用合理的壁厚管材,否则弯曲拉伸后外侧壁厚很难保证尺寸要求,同时,弯管半径的大小,也会对壁厚产生较大影响。
(2)胀形对管件壁厚的影响。管件胀形是在压力作用下使管材沿径向扩张的成形,胀形既可以完成管坯的局部扩张,也可完成管坯的整体扩张。胀形过程可分为:“轴向无收缩”和“轴向有收缩”变形方式。
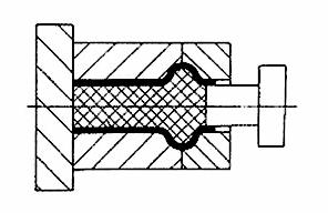
(A)轴向无收缩变形:胀形部位完全靠管坯壁厚的局部变薄而成形,变形性质是在管材毛坯上端的局部成形,管材下端壁厚不变薄(见图1)。如管件三通的胀形是“轴向无收缩变形”。

(图1) (图2)
(B)轴向有收缩变形:在胀形部位管坯壁厚局部变薄的同时,还伴有一定的管坯轴向的自由收缩(见图2)。如管件U形槽的形成是靠局部变薄成形,是“轴向有收缩的变形”。
2、壁厚对管件连接的影响
管件卡压式连接原理:充分利用不锈钢自身有效钢性和密封材料的弹性压缩比原理,在管件承接口的U型槽两侧用卡压工具压接,使管件和管材同时收缩变形(压缩成六角形),起到定位和固定作用,从而提高抗拉拔和抗旋转能力,实现不锈钢管道有效连接。
由此可以看出,它是依照不锈钢的自身钢性,靠压接收缩进行连接,所以管材与管件的壁厚起着重要的作用。如果管材与管件的壁厚不一致,钢性会有差异,从而压接受力会不均衡。
如:卡压管材标准GB/T 19228.2-2011 中规定Ⅱ系列管材15.9mm壁厚为0.8mm(22.2mm管材壁厚为1.0mm);而卡压管件标准GB/T 19228.1-2011中规定对应规格管件最小壁厚为0.6mm(22.2最小壁厚为0.8mm),允许管件的最小壁厚比管材薄0.2mm,管件与管材要求的壁厚尺寸不一致。
管件的功能是:分支、弯向、变径和连接的作用,起到功能性作用比较大。如果管件与管材的壁厚不一致,钢性会有差异。其次,管件弯头外则及管件U型槽壁厚过度减薄,产品的质量与功能被降低(如降低壁厚或采用负公差的管材来降低产品价格,有的弯管外侧壁厚仅有0.50—0.58mm之间,达不到壁厚0.6mm要求。而有的胀型工艺生产管件,U型槽的壁厚只有0.4mm多点)。
3、使用中对壁厚的确认与选择。
管件的作用就是起连接管材的作用,使管道可以改变方向和口径。所以一般情况下管材与管件都是配套的,壁厚要求也是一致的。
(1)首先管材与管件规格要配套;(2)管件与管材壁厚要一致,这对压接、焊接的安全可靠性产生重要作用;(3)要检查弯头外则的壁厚是否在标准范围内;(4)检测“三通拉口”和“U型槽”的壁厚。过薄的管壁满足不了压接的强度要求,会留下隐患。
因为卡压式连接是靠壁厚来发生变形与紧固件形成密封,过薄的管壁满足不了表面压接变形的强度要求,很容易产生漏水或渗水的事故发生。
(四)固溶工序的防腐功能及寿命的影响
管件加工过程会影响金属零件的疲劳属性,影响金属疲劳属性工艺有:焊接、磨削、成型加工等等,会使管件拉应力的产生,从而加速金属疲劳失效发生,降低不锈钢使用寿命,所以须进行固溶(热处理)工序。
1、在成型和焊接后的管件,在经过1050℃ 左右温度时,可进行应力释放,恢复不锈钢管件在生产过程的应力和晶间变化,增强抗应力和晶间腐蚀能力。
2、将不锈钢硬度还原到220HV以下,改善疲劳属性,提高不锈钢的塑性和韧性,使管件在卡压安装中提高安全性能。
3、还原不锈钢表面的自然光亮,更加美观自然。
二、不锈钢管件生产控制与改善
1、采购中控制不锈钢材料的质量
当前市场上原材料存在质量不同、以次充好的现象,在原材料采购过程中要严格掌握与控制。首先,对供方要进行评价和选择,建立供方的评价报告、质量记录等,采购信息要清晰、完整;其次,要有厂家的质检报告。第三,对采购回厂的材料要进行化验分析。建议要到大的钢厂去购买。
2、合理工艺和技术措施,控制管件壁厚
挤压成型最大优点是:在挤压过程中通过补料方式使“U型槽” 和“三通拉口”壁厚不减薄,达到产品质量要求。而胀形工艺优点是加工性能较稳定,表面光滑回弹小,缺点是管材壁厚减薄。
不管是采用挤压工艺或是胀型工艺,保证管壁厚度,保证质量是前提,也是企业对成本、质量、技术要求的具体体现。在国内市场上经常有厂家向客户推销过于廉价的不锈钢水管,大部分都是牺牲管材壁厚和强度,这对薄壁不锈钢管道的连接与安全带来隐患。
3、固溶是提高管件质量不可缺失的工序
固溶工序可消除生产过程产生应力和晶间变化,大家都很清楚,尽管固溶每吨会增加成本2600— 2800元之间,但它是提高抗腐蚀能力的重要措施,应在管件成型加工完成后进行固溶,才能真正起到保护作用,不可省略。
三、结束语
未来中国不锈钢管道市场将会有一个快速增长,并向多领域发展,这是当前发展趋势,不用置疑,作为企业如何应对发展,在做好不锈钢材料、成型工艺、壁厚变化及固溶(热处理)等品质管理的同时,更要做好产品质量、技术规范的执行与引导,让使用者更多了解产品的功能、使用和维护,加快不锈钢供水管道普及和提高市场份额,推进不锈钢管道在多领域应用,这是一个系统工程,还需要各环节和各方面的配合与努力。
1、成本与性价比。不锈钢水管的一次性投资成本约是普通镀锌管的二倍,比PPR等复合水管高50%左右。但如果把建筑物的整个寿命期成本计算在内,不锈钢水管的平均成本优势就非常明显了。
不锈钢管道使用寿命一般为70年,镀锌管使用寿命约10年左右,而更换管线的成本要远远高于当初的投资。不锈钢管是当前最合适的输水管道。
2、不锈钢管道壁厚。从安全因素和经济性的角度考虑,我们建议DN15-DN50的不锈钢管选用GB/T19228.2-2011标准中规定的II系列的壁厚,DN65-DN100以上的不锈钢管选用GB/T19228.2-2011标准中规定的I系列的壁厚,是薄壁不锈钢水管的最佳壁厚选择。
3、安装使用后保护。不锈钢都具有非常好的耐腐蚀性,不锈钢产品长时间放置于微酸与微碱环境中,不锈钢也会被腐蚀,这种腐蚀不只是腐蚀了不锈钢产品的外表,更大的是腐蚀了不锈钢产品的晶间结构。其次,高湿环境对不锈钢也产生腐蚀。如果不锈钢长时间处于高湿环境中,也会造成对不锈钢产品的腐蚀。第三,在粉尘环境中也会造成产品的腐蚀,降低了不锈钢管道的使用寿命。
4、注重管道打压试验用水。一定要使用干净的自来水来做打压试验,严禁使用工程污水或不干净的河水、井水或地下水,这会导致对不锈钢管道的腐蚀。

